【リーガルテック】弁護士向け事件管理サービス『LegalWin』、破産・管財事件において通帳OCRを行い、取引を集計して経済状態を見える化する機能をリリース
破産事件、管財事件、再生事件などで通帳を集計し、経済状態を見える化します
合同会社LegalWin(神奈川県川崎市、代表:橋本訓幸)は、事件管理ツール『LegalWin』の付加機能である通帳を文字認識(OCR)する機能を、これまでの成年後見事件向けだけでなく、破産・管財事件向けにも活用できるように拡張しましたのでリリースいたします。

URL https://www.legalwin.jp
■LegalWinとは
1.快適に表示・入力できることを重視した、弁護士業務の効率化のためのクラウド型事件管理ツール
2.ディープラーニング技術に基づいて通帳・お手持ちのPDF文書のOCRを行う機能を付加機能として搭載
3.無料プランでも30件まで利用でき、有料プランの料金は1480円/月〜(年額払いの場合。リモートワーク応援のためフリープランですべての機能を利用できる期間を延長)
■通帳OCR機能(破産・管財事件向け)について
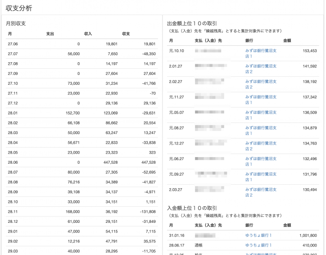
1.通帳をスキャンしたPDFを読み取って、各取引の日付、金額、文字部分を認識します。
2.都市銀行及び神奈川県を中心とした地方銀行に対応(現在12行に対応。今後拡大予定)。
3.各口座を串刺しにして、月別に収入、支出、収支を集計します。また入金・出金のそれぞれについて、金額の大きな取引をピックアップして表示します。



■開発理由
破産事件や管財事件では、ある特定の時期の収支の状況がどうなっていたか(増加傾向に合ったのか、減少傾向にあったのかなど)を把握したいものです。
その場合、多額の現金を手元で運用しているということは通常ないので、各銀行口座に現れる入出金を確認すれば、その人の収支の状況を把握することができます。銀行口座が複数にわたる場合であっても、経験によって慣れれば、全体の収支状況を把握し、不自然な点がないか確認することができますが、機械的に集計して表示されれば、経験や慣れは必要はなく、一目瞭然で把握することができます。
またチェックすべき不自然な入出金は,通常金額の大きなものが中心となりますので、金額の大きな取引が抽出されていると、まずそこからチェックしていけば効率的に確認をすることができます。
このような点で、破産・再生事件の申立てを行う際や、破産管財人、再生委員の立場で記録をチェックする際などに役立てていただければと思い、この機能を開発しました。
LegalWinは、引き続き一般民事を取り扱う弁護士及び事務員の方が便利に使える機能を開発していきます。
通帳OCR機能のほか、お手持ちのPDF文書をOCRして、あたかも電子書籍のように縦横無尽に検索することができる機能などもあります。
リモートワークを応援するため、現在無料ですべての機能を利用できる期間を延長しておりますので、この機会にぜひ一度お試しください。
■LegalWin
https://www.legalwin.jp
このプレスリリースには、メディア関係者向けの情報があります
メディアユーザーログイン既に登録済みの方はこちら
メディアユーザー登録を行うと、企業担当者の連絡先や、イベント・記者会見の情報など様々な特記情報を閲覧できます。※内容はプレスリリースにより異なります。
すべての画像
